• 当前位置:网站首页-> 骑行 -> 摩托车

    硬核:斯巴鲁正在研发一款飞行摩托车

    摩托车

    2021-04-06 14:33:16

    651 0
    日本汽车制造商斯巴鲁近期申请了一项飞行摩托车专利,专利中描述了一种陆空飞行器,该飞行器实质上是封闭在飞机机身内的具有垂直起降功能的摩托车。美国专利商标局在愚人节发布了该文件,但斯巴鲁的专利申请最初是在2019年9月30日在日本提交了原始专利之后,于2020年7月22日向该机构提交的,而4月1日发布的则是完整的专利,虽然碰巧在愚人节,但这次并不是开玩笑。

    两次申请的专利都描述了一种类似的车辆,该车辆可以像摩托车一样在地面上行驶,并且在需要时可以像飞机一样从地面升起并飞行。虽然听起来像是科幻小说,但是像斯巴鲁这样的公司实际上拥有将其变为现实的专业知识。尽管大多数人将其视为汽车公司,但斯巴鲁还大量涉足航空航天行业,为日本自卫队生产直升机和无人驾驶飞机,同时还为波音777X客机生产零件。

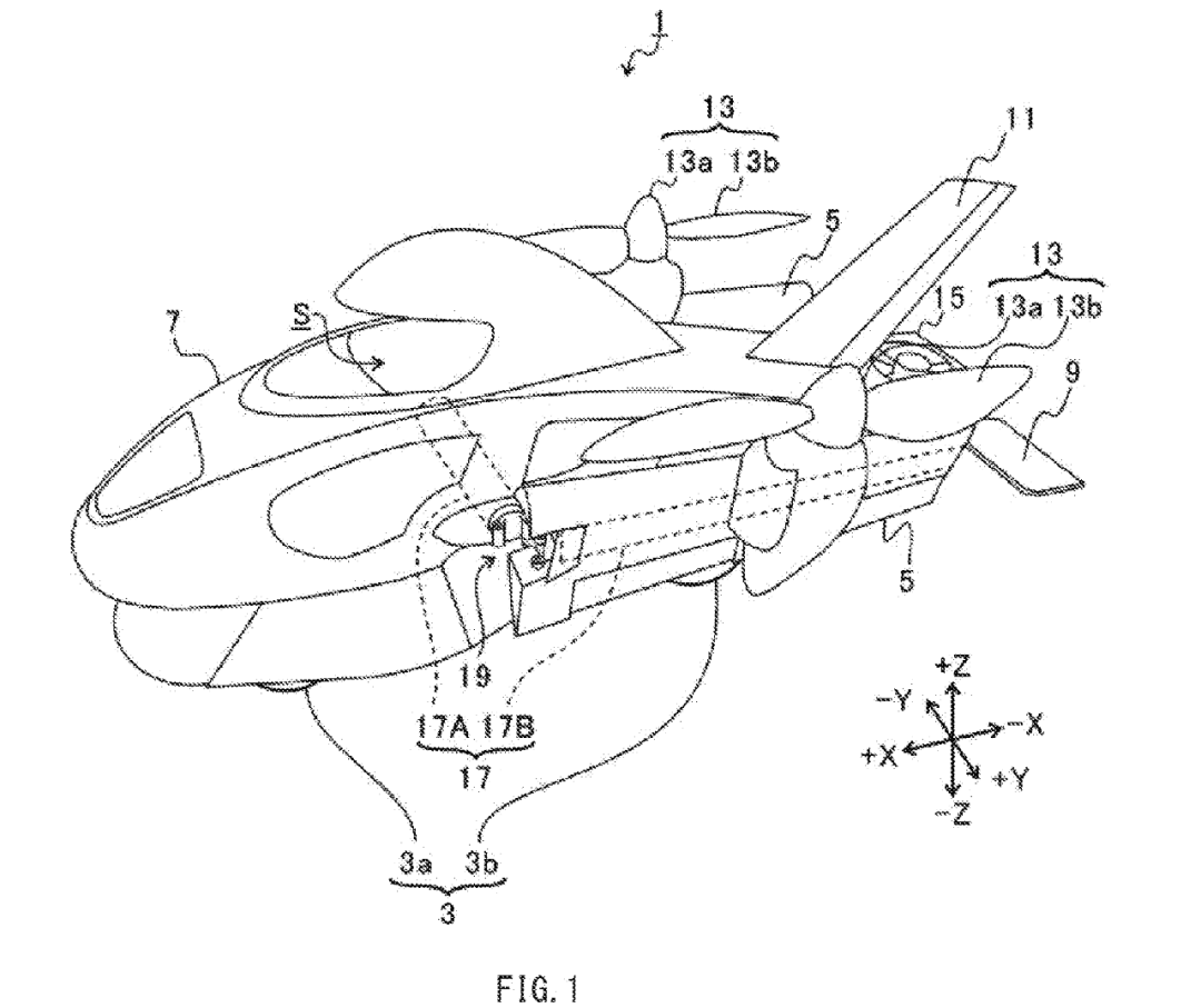
    而在最新专利中描述了车辆如何在空中和陆地模式之间转换:作为地面飞行器,机翼沿机身侧面折叠(图1);垂直起飞或着陆时,机翼呈垂直状态,两个螺旋桨和固定在尾部的旋翼提供升力,使车辆脱离地面,飞行时机翼则旋转至像传统飞机一样的水平状态(图2、3)。

    在地面上,车辆使用内燃机带动驱动轮,曲轴还联接至发电机,该发电机为电池供电,电池为螺旋桨中的电动机提供动力。

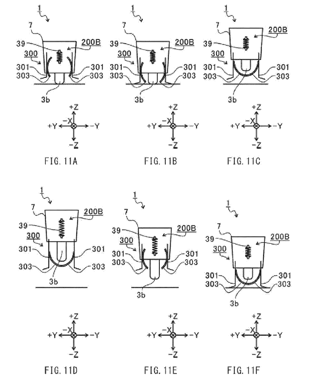
    该专利还采用一种使两个车轮缩回的方法,车轮代替了传统的飞机起落架,就像传统的摩托车一样:前轮连接到车架,后轮通过后摇臂连接,每个轮都有独立的悬架系统。在飞行模式下,锁定机构压缩悬架系统,将车轮缩回机身,以改善飞行过程中的空气动力学。

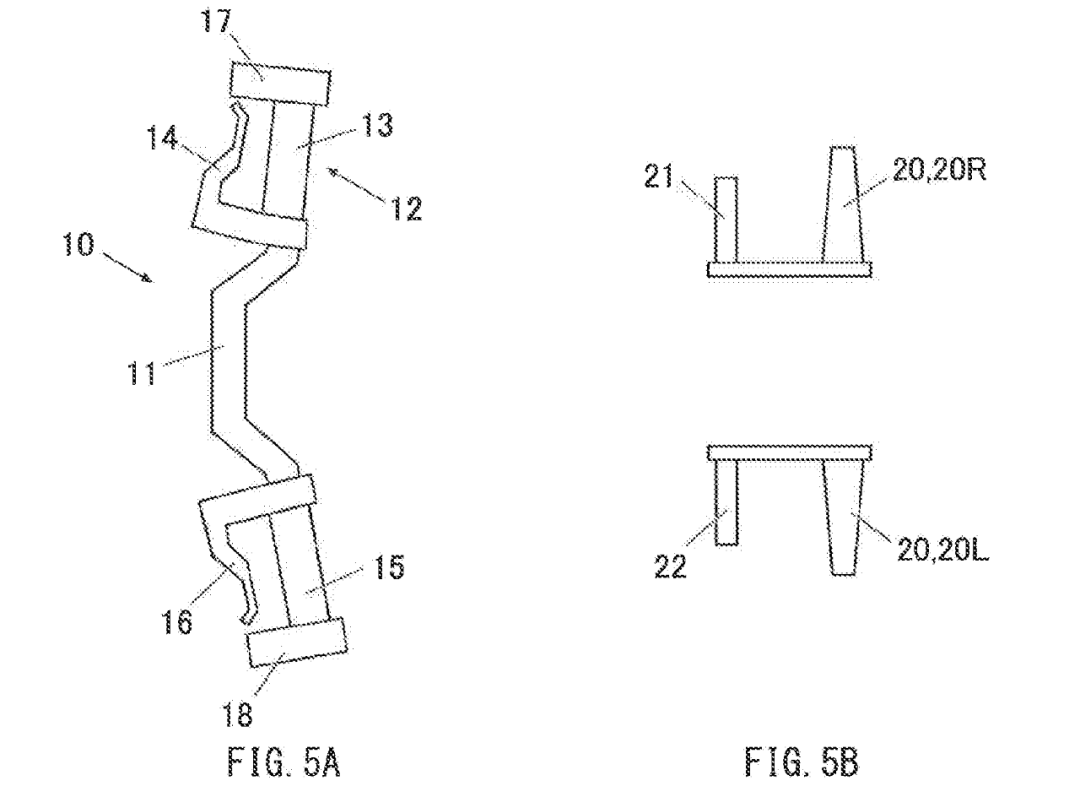
    利中还描述了如何在空中和地面上控制车辆,地面控制装置与普通摩托车把(图5A)没什么区别,唯一的区别是在车把的两端增加了两个空中操作杆(17和18),脚踏(图5B)也是相同。
    右手把(图6)中的飞行控制杆(17)控制螺旋桨的速度,沿α方向会提高螺旋桨转速,β方向降低螺旋桨转速。
    左车把的飞行控制杆(18)则在空中控制车辆的俯仰角,将其向后拉将机头提升,向前推则俯冲。在飞行模式下,左右车把转换为偏航和侧倾方式,以使飞机转向。

    脚踏在飞行模式中也起作用,档杆可调节机翼的角度,进而调节推力水平,车辆对待机翼的倾斜角就像摩托车换档一样。而脚踏中的传感器则可以测量脚部施加的压力来控制飞机的侧倾,向一个脚踏施加更大的压力会使飞机向那个方向倾斜,就像骑行摩托车时一样。

    推荐阅读

    文章评论

    注册或登后即可发表评论

    登录注册

    全部评论(0)

    • 积分

    • 文章

      0

    • UID

      0

    请选择要切换的马甲: